1.实验目的
了解请求分页管理的基本思想,掌握调页策略,掌握常用的页面置换算法。
2.实验要求
采用先进先出或最近最久未使用(LRU)算法,实现分页管理的缺页调度。
- 实验内容:
- 实验内容
采用先进先出或最近最久未使用(LRU)算法,实现分页管理的缺页调度。要求用C语言编写模拟程序并进行调试。
(1)相关知识及其分析
每当程序所要访问的页面未在内存时, 便向CPU发出一缺页中断,中断处理程序首先保留CPU环境,分析中断原因后,转入缺页中断处理程序。该程序通过查找页表,得到该页在外存原物理块后,如果此时内存能容纳新页,则启动磁盘I/O将所缺之页调入内存,然后修改页表。如果内存已满,则须先按照某种置换算法从内存中选出一页准备换出;如果该页未被修改过,可不必将该页写回磁盘;但如果此页已被修改,则必须将它写回磁盘,然后再把所缺的页调入内存,并修改页表中的相应表项,置其存在位为“1”,并将此页表项写入快表中。在缺页调入内存后,利用修改后的页表,去形成所要访问数据的物理地址,再去访问内存数据。整个页面的调入过程对用户是透明的。
在进程运行过程中,若其所要访问的页面不在内存而需把它们调入内存,但内存已无空闲空间时,为了保证该进程能正常运行,系统必须从内存中调出一页程序或数据,送磁盘的对换区中。但应将哪个页面调出,须根据一定的算法来确定。通常,把选择换出页面的算法称为页面置换算法。
一个好的页面置换算法,应具有较低的页面更换频率。从理论上讲,应将那些以后不再会访问的页面换出,或将那些在较长时间内不会再访问的页面调出。常见置换算法有:最佳置换算法(Optimal)、 先进先出(FIFO)页面置换算法、最近最久未使用(LRU)置换算法、时钟(CLOCK)置换算法、最少使用(LFU)置换算法、页面缓冲算法(PBA)等。本实验重点实现LRU置换算法。
最近最久未使用(LRU)置换算法,是根据页面调入内存后的使用情况进行决策的。由于无法预测各页面将来的使用情况,只能利用“最近的过去”作为“最近的将来”的近似,因此,LRU置换算法是选择最近最久未使用的页面予以淘汰。该算法赋予每个页面一个访问字段,用来记录一个页面自上次被访问以来所经历的时间t,,当须淘汰一个页面时,选择现有页面中其t值最大的,即最近最久未使用的页面予以淘汰。
LRU置换算法虽然是一种比较好的算法,但要求系统有较多的支持硬件。为了了解一个进程在内存中的各个页面各有多少时间未被进程访问,以及如何快速地知道哪一页是最近最久未使用的页面,须有以下两类硬件之一的支持:① 寄存器 ②栈。
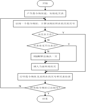
实现流程如图3所示。
![]()
实验代码如下:
#include <stdio.h> #include <stdlib.h> // 提供标准库函数,如内存分配函数等 #include <conio.h> // 提供控制台输入输出函数,如getche() #include <iostream> #define M 4 // 内存块数量,即可以同时存放的页面数 #define N 17 // 页面引用序列长度,即模拟过程中访问的页面总数 // 表格输出格式宏定义,用于打印内存状态表格的分隔线 #define Myprintf printf("|---+---+---+---+---+---+---+---+---+---+---+---+---+---+---+---+---+---+---+-+|\n") using namespace std; // 页面结构体定义,用于表示内存中的一个页面 typedef struct page { int num; // 页面号,标识具体的页面 int time; // 时间戳:记录上次使用时间,用于LRU算法判断最近最少使用的页面 } Page; Page b[M]; // 内存单元数组,最多可存放M个页面 int c[M][N]; // 记录内存状态的缓冲区,c[i][j]表示时间点j时内存块i中的页面号 int queue[100]; // 记录调入队列,保存所有发生页面调入的页面号 int K; // 调入队列计数器,记录调入操作的次数 // 初始化内存和缓冲区 void Init(Page *b, int c[M][N]) { int i, j; // 只初始化M个内存块,将每个内存块标记为空闲状态 for (i = 0; i < M; i++) { b[i].num = -1; // -1表示该内存块当前空闲,未存放任何页面 b[i].time = N - i; // 初始时间戳,确保各页面时间戳不同且不会冲突 } // 初始化缓冲区,将所有位置标记为-1(表示初始时无页面) for (i = 0; i < M; i++) for (j = 0; j < N; j++) c[i][j] = -1; } // 查找最久未使用的页面,返回其在内存块数组中的索引 int GetMax(Page *b) { int i; int max = -1; // 记录最大时间戳值 int tag = 0; // 记录具有最大时间戳的页面索引 for (i = 0; i < M; i++) { if (b[i].time > max) { max = b[i].time; tag = i; } } return tag; // 返回最久未使用的页面索引 } // 检查页面是否已在内存中,若存在返回其索引,否则返回-1 int Equation(int fold, Page *b) { int i; for (i = 0; i < M; i++) { if (fold == b[i].num) return i; // 找到匹配页面,返回其在内存块数组中的索引 } return -1; // 未找到匹配页面 } // LRU算法核心:处理页面访问请求 void Lru(int fold, Page *b) { int i; int val; val = Equation(fold, b); // 检查请求的页面是否已在内存中 if (val >= 0) { // 页面已在内存中,更新时间戳:将当前页面时间戳设为0(最新),其他页面时间戳加1 b[val].time = 0; for (i = 0; i < M; i++) if (i != val) b[i].time++; } else { // 页面不在内存中,需要置换 queue[++K] = fold; // 记录调入的页面号,K加1 val = GetMax(b); // 找到最久未使用的页面索引 b[val].num = fold; // 将该内存块置换为新页面 b[val].time = 0; // 新页面的时间戳设为0(最新) // 其他页面时间戳加1,表示它们的未使用时间增加 for (i = 0; i < M; i++) if (i != val) b[i].time++; } } int main() { // 页面引用序列:模拟程序运行过程中访问的页面顺序 int a[N] = {1, 0, 1, 0, 2, 4, 1, 0, 0, 8, 7, 5, 4, 3, 2, 3, 4}; int i, j; do { K = -1; // 初始化调入队列计数器 Init(b, c); // 初始化内存和缓冲区 // 模拟页面访问过程 for (i = 0; i < N; i++) { Lru(a[i], b); // 处理页面访问请求 // 记录当前时间点的内存状态,用于后续输出 for (j = 0; j < M; j++) c[j][i] = b[j].num; } // 输出模拟结果 printf("内存状态为:\n"); Myprintf; // 输出引用序列 printf("|引用序列 "); for (j = 0; j < N; j++) printf(" |%2d", a[j]); printf(" |\n"); Myprintf; // 输出每个内存块在各个时间点的状态 for (i = 0; i < M; i++) { printf("|内存块 %d ", i+1); for (j = 0; j < N; j++) { if (c[i][j] == -1) printf("|%2c ", ' '); // 空闲块用空格表示 else printf("|%2d ", c[i][j]); // 已占用块显示页面号 } printf("|\n"); } Myprintf; // 输出调入队列和统计信息 printf("\n调入队列为:"); for (i = 0; i <= K; i++) printf("%3d", queue[i]); // 计算并输出缺页次数和缺页率 printf("\n缺页次数为:%6d\n缺页率:%16.6f%%\n", K+1, (float)(K+1)/N * 100); printf("是否继续? y:"); } while ((getche()) == 'y'); // 按y键可重新运行模拟 return 0; }二、实验过程及结果记录
实验过程:
初始状态:
程序自动加载预设的页面引用序列:
a[N] = {1, 0, 1, 0, 2, 4, 1, 0, 0, 8, 7, 5, 4, 3, 2, 3, 4}输出结果为:
关键步骤解释:
页面访问过程:
时间点 0:访问页面 1 → 内存块 1 装入页面 1(缺页)。
时间点 1:访问页面 0 → 内存块 2 装入页面 0(缺页)。
时间点 2:访问页面 1 → 页面 1 已在内存中(命中)。
时间点 4:访问页面 2 → 内存块 2 置换为页面 2(缺页)。
时间点 5:访问页面 4 → 内存块 3 装入页面 4(缺页)。
时间点 9:访问页面 8 → 内存块 2 置换为页面 8(缺页)。
时间点 11:访问页面 5 → 内存块 4 装入页面 5(缺页)。
时间点 13:访问页面 3 → 内存块 3 置换为页面 3(缺页)。
LRU 算法机制:
每次命中页面时,该页面的时间戳置为 0,其他页面时间戳 + 1。
缺页时,选择时间戳最大(最久未使用)的页面置换。
例如,时间点 9 访问页面 8 时,内存块 2 的页面 0 是最久未使用的,因此被置换为页面 8。
按y则重新进行模拟输出
修改部分:
1. 内存块初始化范围修改
原来的代码是这样的:
for(i=0;i<N;i++)
{
b[i].num=-1;
b[i].time=N-i-1;
}
修改后变成:
for(i=0;i<M;i++)
{
b[i].num=-1;
b[i].time=N-i;
}
修改原因:
原代码把循环写成了i<N,但实际上我们只需要初始化M个内存块(M是内存块总数,N是页面引用序列长度)。比如说,如果内存只能放 4 个页面(M=4),但引用序列有 17 个页面(N=17),原来的代码会尝试初始化 17 个内存块,这就会导致数组越界。现在改成i<M就对了,只初始化实际需要的内存块数量。
2. 时间戳初始化值修改
原来的时间戳初始化是:
b[i].time=N-i-1;
现在改成:
b[i].time=N-i;
修改原因:
之前的初始化方式会导致时间戳重复。比如说,当N=17,M=4时,初始化的时间戳会是 16、15、14、13(N-i-1),这样第一个内存块(i=0)和第 17 个内存块(如果初始化到那么多的话)的时间戳就会冲突(都是 16)。现在改成N-i后,时间戳变成 17、16、15、14,每个内存块的初始时间戳都不一样,避免了冲突。
3. 缺页率计算修改
原来的输出是:
printf("\n缺页次数为:%6d\n缺页率:%16.6f",K+1,(float)(K+1)/N);
现在改成:
printf("\n缺页次数为:%6d\n缺页率:%16.6f%%\n",K+1, (float)(K+1)/N * 100);
修改原因:
原来的代码虽然计算了缺页率,但有两个问题:一是没有乘以 100,导致显示的是小数(比如 0.588),而不是百分比(58.8%);二是没有在输出里加百分号%。现在改了之后,先把缺页率乘以 100,再在输出格式里加上%%(在 C 语言里%%表示输出一个%符号),这样输出就正确显示为百分比了,比如58.8235%。
三、实 验 小 结
心得体会:
通过本次实验,我对请求分页管理和页面置换算法有了更深入的理解与掌握。
我初步理解了 LRU 算法原理。LRU 算法基于 “最近的过去” 作为 “最近的将来” 的近似,选择最近最久未使用的页面淘汰,这一理念在实际代码实现中得到了充分验证。通过代码中对时间戳的维护和更新,清晰地展现了如何根据页面使用情况进行决策。
我对操作系统内存管理机制有了更直观认识。从缺页中断处理流程,到页面置换时内存状态的改变,再到页表的相关操作等,都让我明白操作系统在内存管理上的复杂性和精妙之处。
通过本次实验,我锻炼了 C 语言编程能力。在编写代码过程中,涉及到结构体的定义与使用、数组的操作、函数的编写与调用等,对 C 语言的语法和编程规范更加熟悉。例如,对页面结构体中时间戳和页面号等成员的管理,以及内存块数组、记录内存状态缓冲区数组的操作等。
此外,我还提高了算法实现与调试能力。将理论的 LRU 算法转化为可运行的代码并非易事,期间遇到了诸如时间戳更新逻辑错误、页面置换时机判断不准确等问题。通过不断调试,仔细检查代码逻辑,逐步解决这些问题,让我在算法实现和调试方面积累了宝贵经验。
目前代码在功能实现上虽然达到要求,但在性能和代码结构上还有优化空间。比如,在查找最久未使用页面和检查页面是否在内存等操作中,时间复杂度较高,后续可以研究更高效的数据结构或算法来优化。
LRU 算法实际应用中需要寄存器或栈等硬件支持,实验中仅从软件模拟角度实现算法,对硬件如何配合实现该算法理解不够透彻,后续需要查阅更多资料加深这方面认识。
总体而言,这次实验不仅让我巩固了课堂所学的操作系统知识,还通过实践提升了编程和解决问题的能力,为今后深入学习操作系统及相关领域知识奠定了良好基础。

