项目运行
环境配置:
Jdk1.8 + Tomcat7.0 + Mysql + HBuilderX(Webstorm也行)+ Eclispe(IntelliJ IDEA,Eclispe,MyEclispe,Sts都支持)。
项目技术:
SSM + mybatis + Maven + Vue 等等组成,B/S模式 + Maven管理等等。
环境需要
1.运行环境:最好是java jdk 1.8,我们在这个平台上运行的。其他版本理论上也可以。
2.IDE环境:IDEA,Eclipse,Myeclipse都可以。推荐IDEA;
3.tomcat环境:Tomcat 7.x,8.x,9.x版本均可
4.硬件环境:windows 7/8/10 1G内存以上;或者 Mac OS;
5.是否Maven项目: 否;查看源码目录中是否包含pom.xml;若包含,则为maven项目,否则为非maven项目
6.数据库:MySql 5.7/8.0等版本均可;
毕设帮助,指导,本源码分享,调试部署(见文末)
3.3 功能需求分析
系统功能需求分析是通过软件开发者在参与市场调研,与管理员、教师和领导交流后经过详细缜密的思考,再讨论研究后得出的初步系统开发所需实现功能。这是开发系统的开始,也是相当关键的一步,如果不在这个阶段制定系统所需模块,日后会带来不必要的麻烦。因此,必须严肃认真,全身心投入去做好这个步骤。
本系统采用从上往下的步骤开发,基本功能如下:
本课题要求实现一套大数据与智能工程系教师档案管理系统,系统主要包括(管理员、教师和领导)三个模块等功能。
(1)管理员用例图如下所示:

图3-1管理员用例图
(2)教师用例图如下所示:

图3-2教师用例图
(3)领导用例图如下所示:

图3-3领导用例图
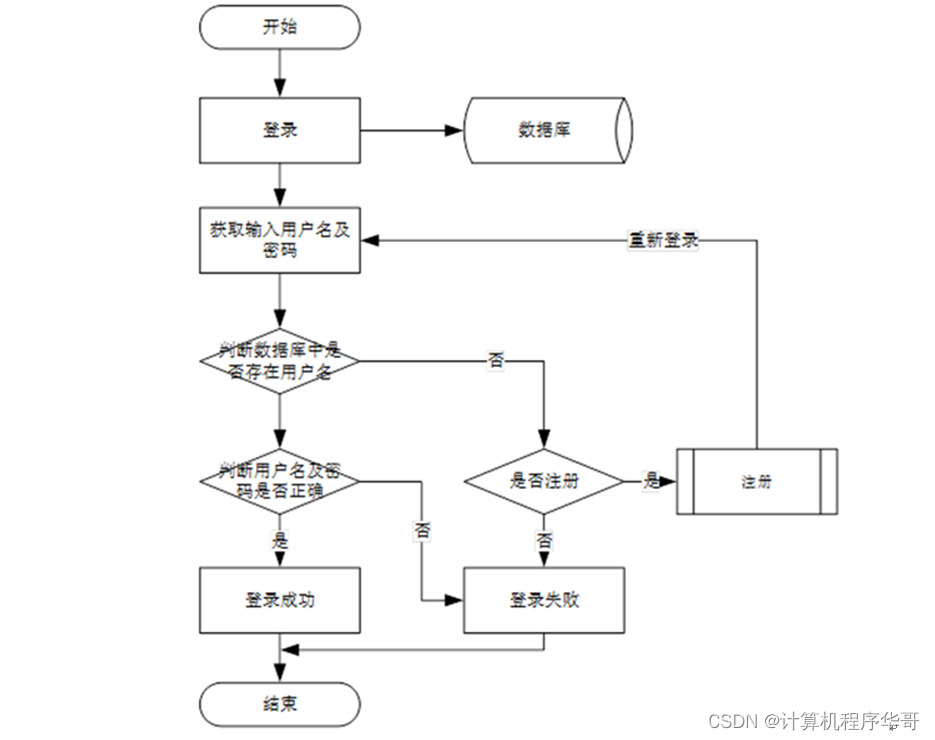
3.5系统流程分析
3.5.1操作流程

图3-4登录流程图
3.5.2添加信息流程
添加信息流程图,如图所示:

图3-5添加信息流程图
3.5.3删除信息流程
删除信息流程图,如图所示:

图3-6删除信息流程图
4.1 系统设计主要功能
通过市场调研及咨询研究,了解了用户及管理者的使用需求,于是制定了管理员、教师和领导等模块。功能结构图如下所示:

图4-1系统功能结构图
4.2 数据库设计
4.2.1 数据库设计规范
数据可设计要遵循职责分离原则,即在设计时应该要考虑系统独立性,即每个系统之间互不干预不能混乱数据表和系统关系。
数据库命名也要遵循一定规范,否则容易混淆,数据库字段名要尽量做到与表名类似,多使用小写英文字母和下划线来命名并尽量使用简单单词。
4.2.2 E/R图
教材信息E/R图,如下所示:

图4-2教材信息E/R图
教师注册E/R图,如下所示:

图4-3教师注册E/R图
精品课程E/R图,如下所示。

图4-4精品课程E/R图
5.1 登陆注册功能模块
大数据与智能工程系教师档案管理系统,教师注册在页面填写工号、密码、确认密码、 姓名、手机、邮箱、住址等内容进行注册等操作;如图5-1所示。

图5-1教师注册界面图
管理员,教师和领导进行登录,进入系统前在登录页面根据要求填写用户名和密码,选择角色等信息,点击登录进行登录操作,如图5-2所示。

图5-2登录界面图
5.2管理员功能模块
管理员登录系统后,可以对首页、个人中心,教师管理、领导管理、教师信息管理、教材信息管理、科研项目管理、培训信息管理、精品课程管理、课程改革管理等功能进行相应的操作管理,如图5-3所示。

图5-3管理员功能界面图
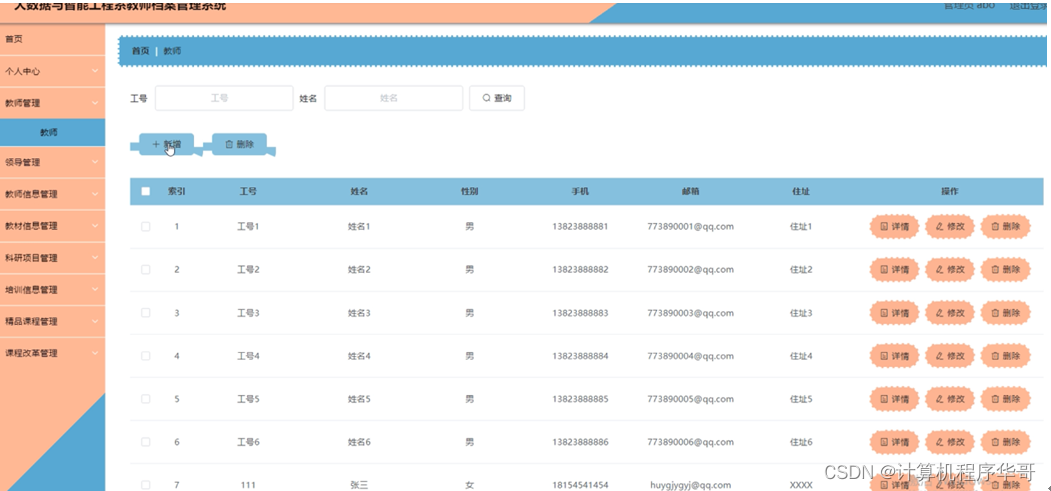
教师管理,在教师管理页面可以对索引、工号、姓名、性别、手机、邮箱、住址等内容进行详情、修改或删除等操作,如图5-4所示。

图5-4教师管理界面图
领导管理,在领导管理页面可以对索引、账号、姓名、性别、手机、邮箱、住址等内容进行详情、修改或删除等操作,如图5-5所示。

图5-5领导管理界面图
教师信息管理,在教师信息管理页面可以对索引、工号、姓名、性别、籍贯、出生年月、政治面貌、学历、毕业时间、毕业院校、毕业专业、来校时间、来院时间、参加工作时间、党政职务、科室、部门、职称、聘任时间、教职工类别、是否实验室人员、教学研究方向、普通话等级、教师资格证号、住址、手机、身份证号、邮箱、备注等内容进行详情、修改或删除等操作,如图5-6所示。

图5-6教师信息管理界面图
教材信息管理,在教材信息管理页面可以对索引、教材名称、教材类型、教材文件、上传日期、工号、姓名等内容进行详情、修改或删除等操作,如图5-7所示。

图5-7教材信息管理界面图
科研项目管理,在科研项目管理页面可以对索引、项目名称、项目类型、项目文件、上传日期、工号、姓名等内容进行详情、修改或删除等操作,删除等操作,如图5-8所示。

图5-8科研项目管理界面图
培训信息管理,在培训信息管理页面可以对索引、培训名称、培训类型、培训成绩、培训日期、工号、姓名等内容进行详情、修改或删除等操作,如图5-9所示。

图5-9培训信息管理界面图
精品课程管理,在精品课程管理页面可以对索引、课程名称、课程类型、课程文件、开课学期、结课时间、工号、姓名等内容进行详情、修改或删除等操作,如图5-10所示。

图5-10精品课程管理界面图
课程改革管理,在课程改革管理页面可以对索引、课程名称、课程类型、改革文件、上传日期、工号、姓名等内容进行详情、修改或删除等操作,如图5-11所示。

图5-11课程改革管理界面图
5.3教师功能模块
教师登录进入系统可以对首页、个人中心,教师信息管理、教材信息管理、科研项目管理、培训信息管理、精品课程管理、课程改革管理等功能进行相应操作,如图5-12所示。

图5-12教师功能界面图
科研项目管理,在科研项目管理页面可以对索引、项目名称、项目类型、项目文件、上传日期、工号、姓名等内容进行详情、修改或删除等操作,如图5-13所示。

图5-13科研项目管理界面图