文章目录
本章提要
本章只对C语言有个大概的了解,不深究细节。后续会更新对C语言更深入知识的内容。
初识C语言系列分(上)(中)(下)版
1.第一个C语言程序
写出第一个代码后按Ctrl+F5调试,在电脑上就会打印出printf()里的东西。
其中,
include是包含的意思,下面的代码就包含stdio.h这个头文件,stdio的全称stdio - standard input output 意思为“标准输入输出头文件”。
int是一种数据类型,int代表整形,和整数是差不多的一个意思。
main叫主函数,是主函数是程序入口,C语言代码中必须有主函数,一个工程(项目)中可以有多个.c文件,但是多个.c文件中只能有一个main函数。
printf是打印函数,即专门在屏幕上打印函数的,它也是C语言标准库中提供的一个库函数。
\n是个转义字符,表示回车换行。
return 0;代表程序正常退出。
2.数据类型
char -->字符数据类型
short–>短整型
int–>整形
long–>长整型
long long–>更长的整形
float–>单精度浮点数
double–>双精度浮点数
存在这么多的数据类型,是为了更加丰富表达生活中的各种值。
例如:
char eg ='t'
int a =10;
float =90.5;
double pai =3.14;
每种类型的大小是什么呢?

其中,
%d是用来打印10进制的整数的,另外补充%c是用来打印字符的。
sizeof是一个操作符,是计算变量的大小的。
在运行以上代码,得到各个类型的大小。那么他们的单位是什么呢?
他们的单位是字节。
我们可以看到,char占1个字节,int占4个字节,long占4个字节,long long占8个字节,short占8个字节,float占4个字节,double占8个字节。
补充:计算机常见的单位(从小到大排序)
bit (比特位)–> byte(字节) --> Kb --> Mb --> Gb --> Tb --> Pb
1byte=8bit
1Kb=1024byte
1Mb=1024Kb
1Gb=1024Mb
1Tb=1024Gb
1Pb=1024Tb
3.变量,常量
C语言中,不变的量用常量的表示,变的量用常量的表示。
3.1定义变量的方法
char eg='w';
int a=8;
float weight=90.5;
好的习惯:在创建变量的同时给一个初始值
3.2变量的命名
- 只能由字母(包括大小写),数字和下划线组成。
- 不能以数字开头。
- 长度不能超过63个字符。
- 变量名中区分大小写。
- 变量名不能使用关键字
3.3变量的分类
变量分为全局变量和局部变量。
在{ }里定义的叫局部变量,在{ }外面定义的叫全局变量。

当局部变量和全局变量名字冲突的时候,局部优先。建议大家尽量不要冲突。


当变量在不同的文件夹时,

extern是用来声明外部符号
3.4变量的使用
写一个代码计算2个整数的和。

其中,scanf是一个库函数,可以从键盘接收数据。
scanf,strcpy,strcat 这些函数,VS都会提示不安全
为了能够正常使用,我们在.c文件的第一行,加上:
#define _CRT_SECURE_NO_WARNINGS 1
3.5变量的作用域和生命周期
作用域:
1.局部变量的作用域是变量所在的局部范围。
2.全局变量的作用域是整个工程。

生命周期:
局部变量的生命周期是:进入作用域生命周期开始,出作用域生命周期结束。
全局变量的生命周期是:整个程序的生命周期。
3.6常量
常量分为:
1.字面常量
2.const修饰的常量
3…#define定义的标识符常量
4.枚举常量
1.字面常量
int main()
{
100;
'a'//字符字面常量
"abcd"//字符串字面常量
}
2.const修饰的常量


当const修饰变量后,变量就会变成常变量。常量不可改,当改变“a”的值时VS就会报错。
但是,即使const修饰之后的变量变为了常变量,具有常数性,但是它的本质还是个变量。
例如:数组的【】中一定要是常量,如果不是常量VS就会报错。

数组中可以存放一组数字,数组【】中一定要是常量,如果不是常量VS就会报错。
3.#define定义的标识符常量

程序可以运行,说明#define把M定义为了常量。
4.枚举常量
意思是一一列举。

其中,
枚举类型定义的一般形式为:enum,是C语言中的一个关键字,enum叫枚举数据类型。
枚举常量的默认是从0开始的,依次向下递增1的。
4.字符串+转义字符+注释
4.1字符串
像这样:
"hehehehe"
由双引号" "引起来的一串字符,简称字符串。
注意:字符串的结束标志是一个"\0"的转义字符,在计算字符串长度时"\0"是结束标志,不算做字符串内容。
字符串的两种书写方式,带来的不同效果:

注意:创建数组的时候可以不指定大小,但一定要初始化。
那么把它们打印出来会怎样呢:

注意:%s是打印字符串–>打印到 '\0’才停止。
ch1的内存空间中,只能锁定'a','b','c'的内存空间,无法确定在它们的前面或者后面放的是什么东西,是个随机值。所以打印出来的就会像’烫烫…'之类的东西。
而ch2中,字符串后隐藏着\0,所以就打印到abc就结束了。
计算ch1和ch2的长度:
C语言提供了一个库函数strlen(string length),(头文件引#include <string.h>),可以计算字符串的长度,统计的是\0之前字符的个数。

可见,ch2字符串的长度为3,原因同上,因为字符串后隐藏着\0。

可见,由于ch1中'a','b','c'后面是个随机值,直到打印至\0才会结束,所以才会出现上图中的情况。
如果在'a','b','c'后主动加个\0,那么它的长度也是3。

4.2转义字符
转义,顾名思义,就是转变原来的意思。
举个栗子:

加转义字符’\n’后:

可以看到,在加有转义字符’\n’后的字符换行了。
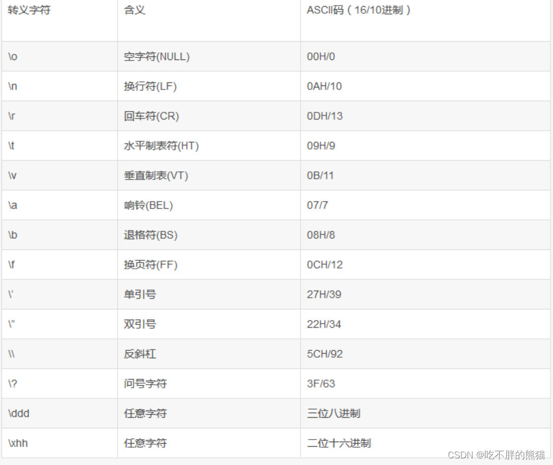
转义字符表

这里不详细讲这张表,后面会出另一篇详细的文章。
4.3注释
1.代码中有不需要的代码可以直接删除,亦可以注释掉。
2.代码中有些代码比较难懂,可以加一些文字注释。
使用:
常用 // 双斜杠表示注释,也可用 /* */表示。
也可选中需要注释的地方,点击以下:

红色圈圈表示注释,黄色圈圈表示取消注释
举个栗子:



篇章总结
这篇我们学了 1.第一个C语言程序 2.数据类型 3.变量,常量 4.字符串+转义字符+注释,代码之路才刚刚开始,继续加油吧!!!