项目运行
环境配置:
Jdk1.8 + Tomcat7.0 + Mysql + HBuilderX(Webstorm也行)+ Eclispe(IntelliJ IDEA,Eclispe,MyEclispe,Sts都支持)。
项目技术:
SSM + mybatis + Maven + Vue 等等组成,B/S模式 + Maven管理等等。
环境需要
1.运行环境:最好是java jdk 1.8,我们在这个平台上运行的。其他版本理论上也可以。
2.IDE环境:IDEA,Eclipse,Myeclipse都可以。推荐IDEA;
3.tomcat环境:Tomcat 7.x,8.x,9.x版本均可
4.硬件环境:windows 7/8/10 1G内存以上;或者 Mac OS;
5.是否Maven项目: 否;查看源码目录中是否包含pom.xml;若包含,则为maven项目,否则为非maven项目
6.数据库:MySql 5.7/8.0等版本均可;
毕设帮助,指导,本源码分享,调试部署(见文末)
3.1系统功能
通过前面的功能分析可以将员工宿舍管理系统的功能分为管理员、员工和维修员三个部分,系统的主要功能包括首页、个人中心、员工管理、维修员管理、宿舍信息管理、床位信息管理、宿舍卫生管理、员工入住管理、报修信息管理、分配任务管理、维修反馈管理、缴费中心管理、缴费记录管理等内容。任何用户只要进入网站不需登录也可浏览到的信息,后台管理是针对已登录的用户看到满意的员工宿舍信息而设计的。
所谓一般用户就是指还没有注册的过客,他们可以浏览主页面上的信息。但如果要进入后台进行信息管理时,要登录注册,只有注册成功才有的权限。
2、管理员的功能及权限
用户信息的添加和管理,员工宿舍详细信息添加和管理和文档信息添加和管理以及网站信息管理,这些都是管理员的功能。
3、系统功能结构图
系统功能结构图是系统设计阶段,系统功能结构图只是这个阶段一个基础,整个系统的架构决定了系统的整体模式,是系统的根据。员工宿舍管理系统的整个设计结构如图3-1所示。

图3-1系统功能结构图
3.2可行性研究
通过对系统研究目标及内容的分析审察后,提出可行性方案,并对其进行论述。主要从技术可行性出发,再进一步分析经济可行性和操作可行性等方面。
3.2.1 经济可行性
开发系统所涉及到的资料,一般是在图书馆查阅,或是在网上进行查找收集。所需要的一些应用软件也都是在网上可以免费下载的,因此,开发成本是几乎为零。但是开发出来的系统,还是具有高效率,低成本,较高质量的。所以,从经济可行性的角度,该系统符合标准。
3.2.2 技术可行性
技术可行性是考虑在现有的技术条件下,能否顺利完成开发任务。以及判断现有的软硬件配置是否能满足开发的需求。而本系统采用的是java技术开发,并非十分困难,所以在技术上是绝对可行的。此外,计算机硬件配置是完全符合发展的需要。
3.2.3 运行可行性
当前计算机信息化的知识已经十分普及了,现在的操作人员也都是对系统环境有很强的适应性,各类操作人员大都是有过培训补充的,因此完全不影响组织结构,所以在运行上也是可行的。
3.2.4 时间可行性
从时间上看,在大四的最后一个学期,在实习工作与完成毕设两件大事相交叉的时间里,结合之前学习的相关知识,并开发系统,时间上是有点紧,但是也不是完全没可能实现,通过这段时间的努力功能基本实现。
3.3系统业务过程分析
员工宿舍管理系统是三种身份的用户,主要涉及管理员、维修员和员工。每个身份都是操作起来都是清楚方便的。对于一些员工宿舍信息,这是任何人都可以查看的,但是如果用户想进入后台进行操作,则必须是已经进行登录的用户,或者想修改员工宿舍信息的话,也是需要用户为登录状态。这些用户的基本信息都由管理员对其统一管理。
根据员工宿舍实际过程的分析,网站有以下几个部分,其中用户注册,发布个人信息,修改个人信息;用户注册登录,发布员工宿舍信息;管理员管理用户信息;一般用户只可以浏览不可以发布信息。以上业务过程从用户角度可以分为三类使用本系统的用户角色,包括管理员、员工和维修员。以下针对各类用户说明相应的业务过程。
3.4系统用例图
系统用例图如下图3-2所示:

图3-2 系统业务用例图
4系统设计
4.1数据库设计
信息管理系统的效率和实现的效果完全取决于数据库结构设计的好坏。为了保证数据的完整性,提高数据库存储的效率,那么统一合理地设计数据库结构是必要的。数据库设计一般包括如下几个步骤:
(1)根据用户需求,确定数据库信息进行保存
对用户的需求分析是数据库设计的第一阶段,用户的需求调研,熟悉小区运作流程,系统要求,这些都是以概念模型为基础的。
(2)设计数据的概念模型
概念模型与数据建模用户的观点一致,用于信息世界的建模工具。通过E-R图可以清楚地描述系统涉及到的实体之间的相互关系。
员工注册实体图如图4-1所示:

图4-1员工注册实体图
宿舍卫生管理实体图如图4-2所示:

图4-2宿舍卫生管理实体图
5.1登录注册模块
员工宿舍管理系统,管理员、员工和维修员通过填写用户名、密码等信息选择角色进行登录就可以使用了,如图5-1所示。

图5-1系统登录界面图
员工注册,在员工注册页面通过填写员工账号、员工姓名、密码、确认密码、 手机号码、邮箱等信息完成员工注册,如图5-2所示。

图5-2员工注册界面图
维修员注册,通过填写维修员账号、维修员账号、密码、 确认密码、联系方式、邮箱等内容进行注册等操作,如图5-3所示。

图5-3维修员注册界面图
5.2管理员功能模块
管理员登录系统后,可以对首页、个人中心、员工管理、维修员管理、宿舍信息管理、床位信息管理、宿舍卫生管理、员工入住管理、报修信息管理、分配任务管理、维修反馈管理、缴费中心管理、缴费记录管理等内容进行详细的操作,如图5-4所示。

图5-4管理员功能界面图
员工管理,在员工管理页面中可以对索引、员工账号、员工姓名、手机号码、头像、性别、邮箱、审核回复、审核状态、审核等内容进行详情、修改或删除等操作,如图5-5所示。

图5-5员工管理界面图
维修员管理,在维修员管理页面中可以对索引、维修员账号、维修员姓名、联系方式、头像、性别、邮箱、审核回复、审核状态、审核等内容进行详情、修改或删除等操作,如图5-6所示。

图5-6维修员管理界面图
宿舍信息管理,在宿舍信息管理页面可以对索引、宿舍名称、位置、床位数、状态等内容进行发布、宿舍卫生修改或删除等操作,如图5-7所示。

图5-7宿舍信息管理界面图
床位信息管理,在床位信息管理页面可以对索引、宿舍名称、位置、床位数等内容进行详情、员工入住、修改或删除等操作,如图5-8所示。

图5-8床位信息管理界面图
宿舍卫生管理,在宿舍卫生管理页面可以对索引、宿舍名称、位置、是否消毒、消毒视频、时间等内容进行详情、修改或删除等操作,如图5-9所示。

图5-9宿舍卫生管理界面图
员工入住管理,在员工入住管理页面可以对索引、宿舍名称、 位置、床位数、员工账号、员工姓名等内容进行详情、修改或删除等操作,如图5-10所示。

图5-10员工入住管理界面图
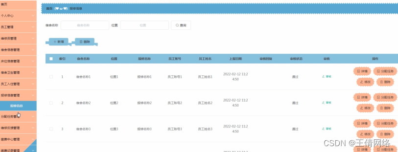
报修信息管理,在报修信息管理页面可以对索引、宿舍名称、位置、报修名称、员工账号、员工姓名、上报日期、审核回复、审核状态、审核等内容进行详情、分配任务、修改或删除等操作,如图5-11所示。

图5-11报修信息管理界面图
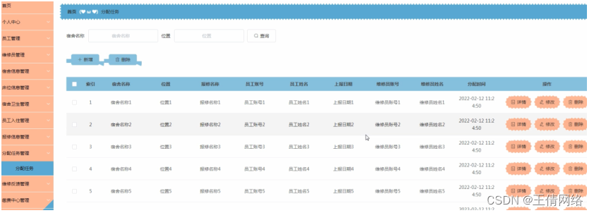
分配任务管理,在分配任务管理页面可以对索引、宿舍名称、位置、报修名称、员工账号、员工姓名、上报日期、维修员账号、维修员姓名、分配时间等内容进行详情、修改或删除等操作,如图5-12所示。

图5-12分配任务管理界面图