毕设帮助,指导,本源码分享,调试部署(见文末)
3.3 系统功能分析
本车库收费管理系统主要包括两大功能模块,即管理员功能模块和用户模块。
1)管理员模块:系统中的核心用户是系统管理员,管理员登录后,通过管理员菜单来管理后台系统。主要功能有:首页、个人中心、用户管理、车位信息管理、车位售单管理、维护公告管理、车位租单管理、车牌号码登记管理、管理费信息管理、租位续费信息管理、催缴信息管理、系统管理等功能。管理员用例图如图3-1所示。

图3-1 管理员用例图
(2)用户:首页、车位信息、维护公告、系统公告、个人中心、后台管理等功能,用户用例图如图3-2所示。

图3-2 用户用例图
3.4系统流程分析
3.4.1登录流程
登录模块主要满足管理员以及用户的权限登录,用户登录流程图如图3-3所示。

图3-3 登录流程图
3.4.2注册流程
未有账号的用户可进入注册界面进行注册操作,用户注册流程图如图3-4所示。

图3-4 注册流程图
3.4.3添加信息流程
用户在添加信息时,信息编号自动生成,系统会对添加的信息进行验证,验证通过则添加至数据库,添加信息成功,反之添加失败。添加信息流程如图3-5所示。

图3-5添加信息流程图
3.4.4删除信息流程
用户可选择要删除的信息进行信息删除操作,在删除信息时系统提示是否确定删除信息,是则删除信息成功,系统数据库将信息进行删除。删除信息流程图如图3-6所示。

4.1系统概要设计
本车库收费管理系统选择B/S结构(Browser/Server,浏览器/服务器结构)和基于Web服务两种模式。适合在互联网上进行操作,只要用户能连网,任何时间、任何地点都可以进行系统的操作使用。系统工作原理图如图4-1所示:

图4-1 系统工作原理图
4.2系统结构设计
整个系统是由多个功能模块组合而成的,要将所有的功能模块都一一列举出来,然后进行逐个的功能设计,使得每一个模块都有相对应的功能设计,然后进行系统整体的设计。
本车库收费管理系统结构图如图4-2所示。

图4-2 系统功能结构图
4.3系统顺序图设计
4.3.1登录模块顺序图
登录模块主要满足了管理员以及用户的权限登录,登录模块顺序图如图4-3所示。

图4-3 登录顺序图
4.3.2添加信息模块顺序图
管理员以及用户登录后均可进行添加信息操作,添加信息模块顺序图如图4-4所示。

图4-4 添加信息顺序图
4.4.1数据库E-R图设计
1、用户注册实体图如图4-5所示:

图4-5 用户注册管理实体图
2、车位信息实体图如图4-6所示:

图4-6车位信息实体图
3、管理费信息管理实体图如图4-7所示:
图4-7管理费信息管理实体图
5.1系统功能模块
车库收费管理系统,在系统首页可以查看首页、车位信息、维护公告、系统公告、个人中心、后台管理等内容,如图5-1所示。

图5-1系统首页界面图
车位信息,在车位信息页面可以查看位编号、车位名称、车位类型、车位图片、车位位置、车位状态、售价、租价、车位详情等详细内容进行购买、租赁或收藏,如图5-2所示。

图5-2车位信息界面图
用户注册,在用户注册页面通过填写用户账号、用户姓名、密码、年龄、联系电话、电子邮箱等信息完成用户注册,如图5-3所示。在个人中心页面通过填写用户账号、用户姓名、密码、性别、年龄、联系电话、电子邮箱等信息进行更新,还可以根据需要对我的收藏进行相应操作,如图5-4所示。

图5-3用户注册界面图

图5-4个人中心界面图
5.2管理员功能模块
管理员登录,通过填写注册时输入的用户名、密码、角色进行登录,如图5-5所示。

图5-5管理员登录界面图
管理员登录进入车库收费管理系统可以查看首页、个人中心、用户管理、车位信息管理、车位售单管理、维护公告管理、车位租单管理、车牌号码登记管理、管理费信息管理、租位续费信息管理、催缴信息管理、系统管理等信息进行相应操作,如图5-6所示。

图5-6管理员功能界面图
用户管理,在用户管理页面中可以查看索引、用户账号、用户姓名、密码、性别、年龄、联系电话、电子邮箱等信息,并可根据需要进行修改或删除等操作,如图5-7所示。

图5-7用户管理界面图
车位信息管理,在车位信息管理页面中可以查看索引、车位编号、车位名称、车位类型、车位图片、车位位置、车位状态、售价、租价等信息,并可根据需要进行修改或删除等操作,如图5-8所示。

图5-8车位信息管理界面图
车位售单管理,在车位售单管理页面中可以查看索引、车位编号、车位名称、车位类别、车位位置、售价、用户账号、用户姓名、购买时间、是否支付等信息,并可根据需要进行详情、车牌号码、管理费、修改或删除等详细操作,如图5-9所示。

图5-9车位售单管理界面图
维护公告管理,在维护公告管理页面中可以查看索引、标题、维护金额、登记时间、封面等内容,并且根据需要进行修改或删除等详细操作,如图5-10所示。

图5-10维护公告管理界面图
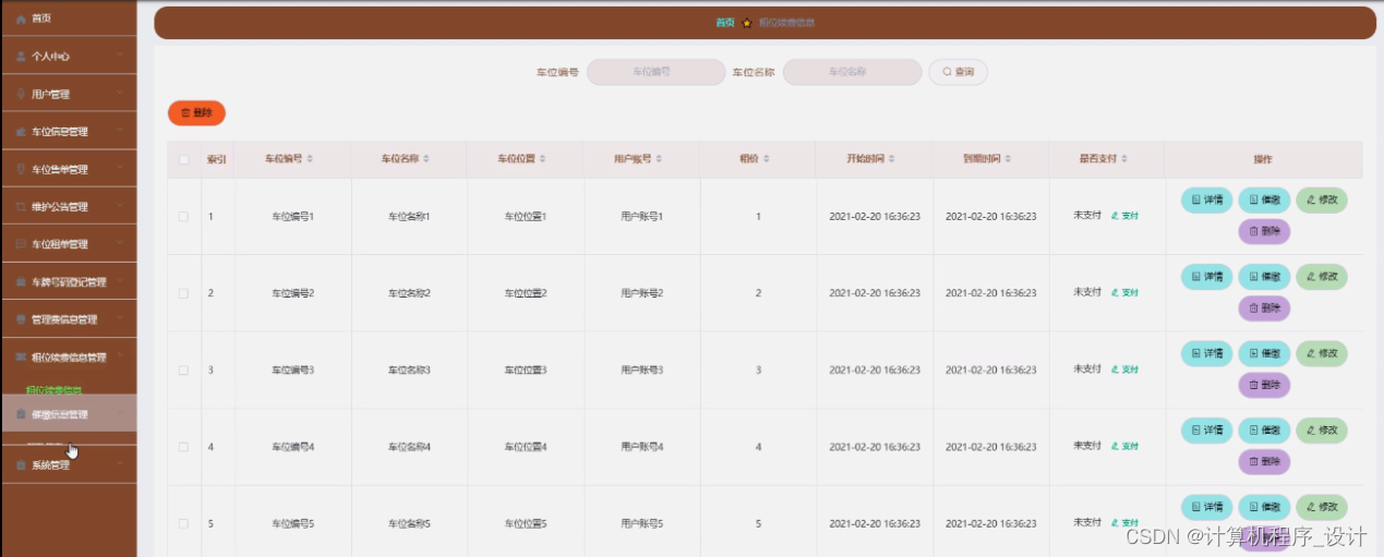
车位租单管理,在车位租单管理页面中可以查看索引、车位编号、车位名称、车位类别、车位位置、租价、用户账号、用户姓名、开始时间、到期时间、是否支付等信息,并可根据需要进行详情、车牌号码、续费、修改或删除等详细操作,如图5-11所示。

图5-11车位租单管理界面图
车牌号码登记管理,在车牌号码登记管理页面中可以查看索引、车位编号、车位名称、用户账号、车位位置、车牌号码一、车牌号码二、车牌号码三、更新时间等内容,并且根据需要进行修改或删除等详细操作,如图5-12所示。

图5-12车牌号码登记管理界面图
管理费信息管理,在管理费信息管理页面中可以查看索引、车位编号、车位名称、管理费、开始时间、截至时间、用户账号、用户姓名、登记时间、是否支付等信息,并可根据需要进行详情、催缴、修改或删除等详细操作,如图5-13所示。

图5-13管理费信息管理界面图
租位续费信息管理,在租位续费信息管理页面中可以查看索引、车位编号、车位名称、车位位置、用户账号、租价、开始时间、到期时间、是否支付等内容,并且根据需要进行详情、催缴、修改或删除等详细操作,如图5-14所示。

图5-14租位续费信息管理界面图
催缴信息管理,在催缴信息管理页面中可以查看索引、车位信息、车位编号、用户账号、用户姓名、催缴时间等内容,并且根据需要进行详情、修改或删除等详细操作,如图5-15所示。

图5-15催缴信息管理界面图
5.3用户后台功能模块
用户登录进入系统后台可以查看首页、个人中心、车位售单管理、车位租单管理、车牌号码登记管理、管理费信息管理、租位续费信息管理、催缴信息管理、我的收藏管理等内容进行相应操作,如图5-16所示。

图5-16用户后台功能界面图
个人中心,在个人中心页面中通过填写用户账号、用户姓名、年龄、性别、联系电话、电子邮箱等信息进行修改,如图5-17所示。

图5-17个人中心界面图
车位售单管理,在车位售单管理页面中可以查看索引、车位编号、车位名称、车位类别、车位位置、售价、用户账号、用户姓名、购买时间、是否支付等信息,并可根据需要进行详情、修改或删除等详细操作,如图5-18所示。

图5-18车位售单管理界面图
车位租单管理,在车位租单管理页面中可以查看索引、车位编号、车位名称、车位类别、车位位置、租价、用户账号、用户姓名、开始时间、到期时间、是否支付等信息,并可根据需要进行详情、修改或删除等详细操作,如图5-19所示。

图5-19车位租单管理界面图
我的收藏管理,在我的收藏管理页面中可以查看索引、收藏名称、收藏图片等内容,并且根据需要进行详情或删除等详细操作,如图5-20所示。

图5-20我的收藏管理界面图